Crate Opener
Ex113S Series
- Non-Sparking
- Non-Magnetic
- Corrosion Resistant
- ISO 9001:2015 certified production, TUV materials certified
- Lifetime Warranty
Applications:
- Non-sparking crate opener for use in petrochemical, grain production (explosive-dust), utilities, and hazmat applications.
- Non-magnetic crate opener for use in MRI/NMR, nuclear products, electronic manufacturing, and other sensitive equipment.
- Corrosion Resistant crate opener for use in desalination plants, chemical/paper manufacturing, and shipyards.
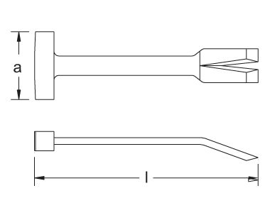
- Standard Sizes
- ALLOYS & USE
| A = Aluminum Bronze | B = Copper Beryllium | |
|---|---|---|
| Example: | Ex113S-230A | Ex113S-230B |
| No. | a inch | l inch | Wt. lbs. | a mm | l mm | Wt. kg |
|---|---|---|---|---|---|---|
| Ex113S-230 | 2-3/4 | 9-13/16 | 1.12 | 70 | 230 | 0.51 |
| Aluminum-Bronze (AlBr) Alloy | Copper-Beryllium (CuBe2) Alloy | |
|---|---|---|
| Zone Compatibility | Fulfill demand in ATEX Directive 1999/92/EC for work in Zones 0, 1, 2, 20, 21 and 22, M1 & M2 | Fulfill demand in ATEX Directive 1999/92/EC for work in Zones 0, 1, 2, 20, 21 and 22, M1 & M2 |
| Hardness | 27 HRC | 38 HRC |
| Durability | Not as durable as CuBe. | Very durable due to high hardness and tensile strength. |
| Magnetic Properties | Low magnetism due to minimal ferrous components. Appropriate for non-critical non-magnetic applications. | Non-ferrous components; safer for applications demanding non-magnetic properties. |
| Composition | Al: 10.3% Fe: 4.5% Ni: 4.5% Other: 0.5% Cu: Balance | Be: 1.9% Co + Ni: 0.4% Other: 0.5% Cu: Balance |

| Downloads: |
|---|
Urgent Weekend/Holiday Fulfillment Available - Click For Details 







